AUTOMATED ATTENDANT ACCESS
The "automated attendant" item must be on YES in the common parameters (see AUTOMATED ATTENDANT) and the corresponding trunk groups (see TRUNK GROUPS).
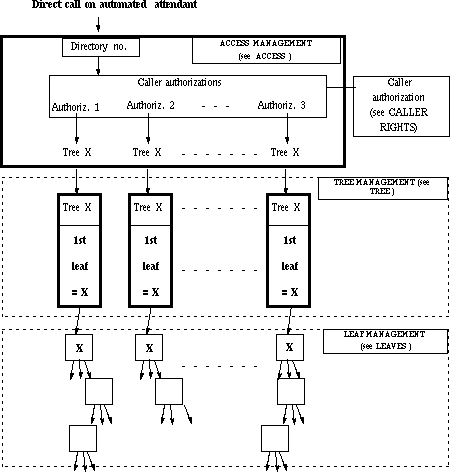
This table is used to define 8 accesses to the automated attendant.
Each access possesses:
- its directory number
- tree allocations according to the caller authorization COS and day or night status.
This access can be accessed by external callers either by direct call or via the MENU ON SET GUIDES .
PRINCIPLE OF MENUS ON TREE (AUTOMATED ATTENDANT)

Directory Number
The directory number is an internal company number, used to call the access defined below.
It includes between 1 and 8 digits or characters corresponding to the set dialing keypad (0 to 9, *, #). Characters A to D may also used.
Access Id.
8 accesses can be created (1 to 8).
Night - Caller Rights
Each access has 2 tables: day access and night access.
Authorizations 0 to 31 correspond to external caller authorization COS (see CALLER RIGHTS).
EACH EXTERNAL CALLER AUTHORIZATION COS HAS A CORRESPONDING TREE NUMBER (SEE TREE).
Day - Caller Rights
Each access has 2 tables: day access and night access.
Authorizations 0 to 31 correspond to external caller authorization COS (see CALLER RIGHTS).
EACH EXTERNAL CALLER AUTHORIZATION COS HAS A CORRESPONDING TREE NUMBER (SEE TREE).
Entity ID
This number enables you to assign access to an entity (see ENTITY):
This allows the unanswered calls (incident in the access call or in the routing leaves) to be taken into account by the routing table of this entity (an attendant, automated attendant...).